Super SARCA Anchor No 15 - Galvanised
To suit Boat Length 30-40M
Super SARCA Anchors
Super SARCA Anchors are designed in Australia and manufactured in Australia and New Zealand using top-quality 316 stainless steel or mild steel which has been hot-dip galvanized. The patented design is unique and revolutionary, offering superb holding power on a variety of bottom types including mud, sand, gravel and rock, eliminating the need to carry two or more anchors to do the same job!
Super SARCA's unique design makes it both safer and easier to use. The penetrating ability and holding power of the Super SARCA has to be experienced to be believed.
Please note that this chart is a guide only. We recommend that you evaluate the variables listed below and choose the most suitable products for your vessel.
- Boat Length (m):TBA
- Boat Weight (tons):TBA
- Guide to min length of leader chain:15m of 12mm
- Weight(kg):150.0kg
- Width (mm):780
- Height (mm):570
- Length (mm):1150
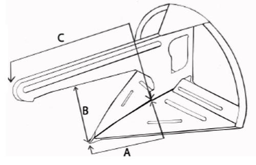
- A (mm):525
- B (mm):400
- C (mm):855
Features:
- Hoop on the rear of the anchor ensures that the Super SARCA rolls over in most situations, allowing the toe to be in its best possible position to penetrate the ocean floor and reducing dragging as the fluke digs in
- No more chain tangled around and between the flukes preventing the anchor from taking hold. Super SARCA's unique tangle-resistant design improves anchor efficiency and safety
- Unique design also creates a pumping action which sinks the anchor deeper. Teamed with the Super SARCA's 360° pivoting action, this makes the Super SARCA resistant to wind and tide changes
- Incorporates an automatic reset trip release that offers you the highest rate of recovery from rocks. When anchoring in and around bommies, reef or coral the Super SARCA has less chance of getting stuck and will create less damage to the environment
- Light in weight, easy to handle and contains no lead in the design to contaminate the marine environment
- Available in top-quality 316 stainless steel or hot-dip galvanized mild steel
Super Sarca (D) shackle instructions:
- Installatioin of D shackles on the Super Sarca’s, the D shackle pin must go through the slide rail and the U shape to the chain or swivel.
- Do not fit any swivel directly on to the anchors shank as they will stick, jam and not slide correctly on the slide rail.
Easy to use on all bottom types:
Mud or Sand
- Come directly above the Super SARCA and apply light and stead pressure.
- The Super SARCA's special slots allow a break in suction which, couple with a long shank, means the Super SARCA is easy to free.
Rock or Reef
- Simply motor directly above and pull all the slack rope. Then release approximately ½ metre of rope and tie off.
- Motor your boat forward over the anchor. This lifts the rear resulting in a high recovering rate.
- The moment the anchor releases, the stainless steel D-shackle slides to the front of the anchors' shank and resets.







